See HatW8 in Action

U.S. Patent Number: 11,930,874

HatW8

The low-profile hat mod that keeps your hat locked... and your options open.

$29.99
Title
SALE 0%

Single

Great value

$29.99
SAVE 0%

2 Pack

Smart Start

$29.99
SAVE 0%

3 Pack

Most Popular

$29.99
SAVE 0%

5 Pack

Essential Pack

$29.99
SAVE 0%

10 Pack

The Full Collection

$29.99
Pack 1

Great value

Sale 0% off
$29.99

2 Pack

Smart Start

Save 0%
$29.99

3 Pack

Most Popular

Save 0%
$29.99

5 Pack

Essential Pack

Save 0%
$29.99

10 Pack

Full Collection

Save 0%
$29.99

Free Shipping over $40

Worry-Free 30 Day Trial

1 Year Craftsmanship Warranty

USA Based Service

Title

Low Profile. High Impact.

Proven Striking Power

Delivers Over 112 PSI

In third-party tests, HatW8 generated over 775,000 Pascals of pressure... enough to break a wooden board in a single motion. All with just a flick of your hat’s brim.

Rapid Response

No Pockets. No Panic.

Unlike traditional self-defense tools, HatW8 is already in your hand. No reaching. No fumbling. Just instant, confident action when it counts.

How It Works

Discreet Attachment, Immediate Access

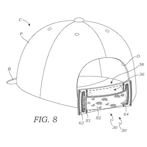
HatW8 threads securely through the adjustable strap of any standard baseball cap. It stays hidden until you need it, turning your everyday hat into a powerful, ready-to-use defense tool.

Hidden in Plain Sight

Looks Like a Hat. Acts Like Protection.

There's no bulky hardware or tactical giveaway. HatW8 disappears into your cap — staying fully accessible without drawing attention.

Used by Experts. Built for Everyone.

While HatW8 is designed for personal protection, we do not endorse or encourage violence of any kind. Our mission is to provide peace of mind through preparedness, with the sincere hope that you'll never need to use this product's defensive capabilities.

DISCLAIMER: We are not responsible for any injuries, damages, or legal consequences resulting from the use or misuse of this product. Users assume all risks and responsibilities associated with ownership and use of HatW8. Please familiarize yourself with local self-defense laws and regulations in your jurisdiction.

Add t

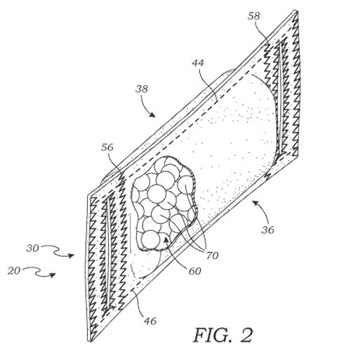
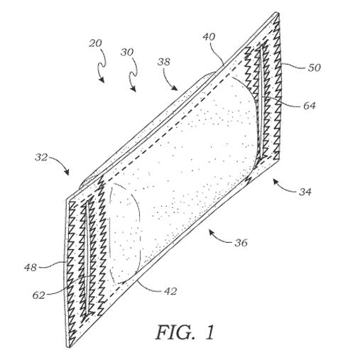
Precision in Every Gram

Patented internal structure balances your hat using engineered weight distribution for stability you can feel, but never see.

U.S. Patent Number: 11,930,874

Title

✓ Symmetrical weight system
✓ Reinforced internal stitching
✓ Invisible low-profile construction

What Everyday Wearers Are Saying

Engineered to Last. Covered From Day One.

Title

Assembled in the USA

Built and supported here in the United States

30-Day Comfort Guarantee

Love it or send it back for a fast refund

1-Year Craftsmanship Warranty

Protected from defects and failure

Free & Easy Returns

Stress-free support if you ever need help

Slide It On, Forget It's There... Until You Need It.

1. Reverse your hat

2. Unbuckle the snap/strapback

3. Slide the HatW8 onto the strap

4. Re-buckle or close the snapback

All Reviews

Customer Reviews

Based on 68 reviews
75%
(51)
19%
(13)
6%
(4)
0%
(0)
0%
(0)
A
Anonymous
Solid build design and materials to last forever

Solid build design and materials to last forever. This is a product that no one will notice in a public setting and requires no change to your dress or clothing. I ordered 2 and plan on ordering these as my Christmas hand outs for my guy friends.

F
Florante

nice inventions!

C
Carl Byrd
Doesn’t feel heavy on my head at all

Doesn’t feel heavy on my head at all. Substantial enough to do all things advertised. I rotate hats so the two pack works but may need to get some more.

A
Anonymous
Look forward to wearing one of these when I go amongst the big city folks

Look forward to wearing one of these when I go amongst the big city folks.
the other two went to friends.

S
Steve
This is great!! Fits perfectly

This is great!! Fits perfectly, can't really be seen and gives an added sense of security. Always available when needed , and keeps hat from blowing off!

HatW8

$29.99
Packs